巨奢网 资讯 名表 查看内容

高空作业平台悬臂裂纹声发射检测-清诚声发射

2023-4-23 17:55| 发布者: fuwanbiao| 查看: 265| 评论: 0

放大 缩小
简介:高空作业平台悬臂裂纹声发射检测刘雅婷 ,刘时风(清诚声发射研究(广州)有限公司 ,广州 510520 )摘 要 :为了保证高空作业平台的使用安全,除了对高空作业人员的专业培训、持证上岗之外,还要对高空作业平台设备 ...

高空作业平台悬臂裂纹声发射检测


刘雅婷 ,刘时风


(清诚声发射研究(广州)有限公司 ,广州 510520 )


摘 要 :为了保证高空作业平台的使用安全,除了对高空作业人员的专业培训、持证上岗之外,还要对高空作业平台设备进行定期的质量检测。在国外,使用声发射技术对空中人员升降设备进行检测被成功应用,并变成了测试新的或在役车载高空平台设备的标准流程 。


本文将介绍与国外客户合作的成功案例,详细介绍如何运用声发射设备和定制的声发射软件进行臂式高空作业平台悬臂梁检测标准流程和检测标准,对推进高空作业平台声发射技术检测标准的制定具有积极的意义。


关键词: 高空作业平台; 声发射 ;检测过程和标准


中图分类号 :TB51 ;TB52 文献标识码 :B


Acoustic emission detection of booms on aerial working platform


Yating Liu Shifeng Liu


(QingCheng AE Institute (Guangzhou) Co., Ltd ,Guangzhou 510520 )


Abstract :In order to ensure the safety of high-altitude working platform, in addition to the professional training of high-altitude working personnel, certificate on duty, but also to carry out regular quality testing of high-altitude working platform equipment. In foreign countries, acoustic emission (AE) technology has been successfully applied to detect airborne personnel lifting equipment, and has become astandard procedure for testing new or in-service vehicle-mounted aerial platform equipment.


This paper will introduce the successful cases of cooperation with foreign customers, and introduce in detail how to use acoustic emission equipment and customized acoustic emission software to carry out the inspection standard process and inspection standard of cantilever beam of aerial work platform, which has positive significance for promoting the establishment of acoustic emission technology inspection standard of aerial work platform.


Key words: aerial work platform ;acoustic emission ;test procedure and standards


高空作业平台广泛适用于市政、电力、路灯、广告、通讯、摄影、园林、交通、码头、机场港口、大型工矿企业等行业的安装维修及登高作业。高空作业平台可以把高空作业人员、工具等抬升到指定位置高度进行各种工程作业,为作业人员提供安全保障。高空作业平台按照臂展方式可分为直臂和曲臂两种,多用于船厂等高度要求较高的场所,此类机器安全性较好,移动方便,但是成本很高。高空作业平台的故障一般发生在玻璃钢 ( FRP )或金属悬臂的裂纹断裂,或平台倾侧倒下,导致机械损坏,作业人员伤亡等经济财产和人员损失。


为了保证高空作业平台的使用安全,除了对高空作业人员的专业培训、持证上岗之外,还要对高空作业平台设备进行定期的质量检测。在国外,使用声发射技术对空中人员升降设备进行检测被成功应用,并变成了测试新的或在役车载高空平台设备的标准流程[1]-[4] 。按照 ASTM F914-03 标准 ,臂式高空作业平台需要定期接受质量安全测试,以保证机械使用和高空作业人员的安全。所以定期检测曲臂式高空平台,及早发现早期裂纹或危险,避免重大事故发生,具有重要的意义。


我国高空作业平台市场还处于增长初期阶段,但是因为高空作业平台优于传统作业平台的安全性和经济性,特别在人工成本大幅增大的市场环境下,国内高空作业平台的使用增长空间非常大。然而国内还没有对于高空作业平台设备的检测对应的广泛应用的行业标准。所以及早做出国内高空作业平台的检测标准和流程,可以规范高空作业行业的安全操作,并一定程度上可以预防安全事故的频率。基于上述原因,本文 将介绍与国外客户合作的成功案例,详细介绍如何运用声发射设备和定制的声发射软件进行臂式高空作业平台悬臂梁检测标准流程和检测标准,对推进高空作业平台声发射技术检测标准的制定具有积极的意义。


1 背景介绍


1.1 高空作业平台介绍


高空作业平台相关产品主要有:剪叉式高空作业平台、拖车式高空作业平台、曲臂式高空作业平台、直臂式高空作业平台、铝合金高空作业平台、套缸式高空作业平台、蜘蛛式高空作业平台七大类。高空作业平台按照能否带电作业又可分为绝缘型和非绝缘型。


绝缘型高空作业平台的工作平台和部分工作臂采用绝缘材料(一般为玻璃钢)制作,工作平台和大地之间阻抗很大,人员可以在高压线路不断电情况下作业。非绝缘型不具备绝缘功能,不能进行带电工作。本文案例适用于直臂式、曲臂式、拖车式高空作业平台,主要针对臂式高空平台的吊臂结构裂纹和断裂进行检测。对于发现的早期悬臂裂纹可以进行及时的干预和修复,延长设备的使用寿命和保证高空作业人员的人身安全。

高空作业平台悬臂裂纹声发射检测-清诚声发射


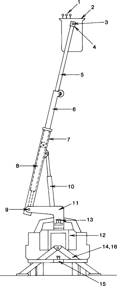
图 1曲臂式空中设备结构图


Fig. 1 Articulating Aerial Device Nomenclature Diagram

高空作业平台悬臂裂纹声发射检测-清诚声发射


图 2伸缩式空中设备结构图


Fig. 2Extensible Aerial Device Nomenclature Diagram


1. 2 声发射技术介绍


材料中局域源快速释放能量产生瞬态弹性波的现象称为声发射 (Acoustic Emission, 简称 AE) ,有时也称为应力波发射。声发射是一种常见的物理现象,大多数工程材料变形和断裂时都有声发射产生 。 通过接收和分析这种声发射信号来评定材料性能或结构完整性的检测方法称为声发射检测技术。材料在应力作用下的变形与裂纹扩展,是结构失效的重要机制。声发射技术,是一种动态无损检测技术,涉及声发射源、波的传播、声电转换、信号处理、数据显示与记录、解释与评定等基本概念。


声发射检测的原理


如图 1所示 ,从声发射源发射的弹性波最终传播到达材料的表面 ,引起可以用声发射传感器探测的表面位移 ,传感器将材料的机械振动转换为电信号,然后再被放大、处理和记录,通过对记录的声发射信号进行分析与推断以了解材料产生声发射的机制。

高空作业平台悬臂裂纹声发射检测-清诚声发射


3声发射技术原理图


Fig. 3Diagram of acoustic emission principle


2 测试方法和步骤


2.1 测试设备与安装


测试是在控制载荷下对高空平台设备的主要部件进行试验。该试验方法采用客观标准进行评价,可随时中断某一特定区域的测试,调查、关注或防止错误持续到最终失败。高空作业平台测试需要监测的部件应包括但不限于表 1或表 2中规定的部件。可使用其他通道和传感器来补充最低测试要求并提高定位分辨率。将传感器安装在表 1或表 2所示部件的 FRP 和金属部分上 。覆盖范围由使用的传感器数量和单个组件的衰减特性决定。声发射仪器应能在 20 至 200 kH z的频带内进行离散信道的数据采集。声发射仪器通道的数量应根据 空中设备的衰减特性确定,以便覆盖表 1或表 2中的那些组件。 本文实际测试中应用了清诚声发射研究的 SAEU3H多通道声发射检测仪 ,用 GI40 声发射传感器检测 FRP 部位, GI150 传感器检测金属钢部位。


表 1应声发射监测的空中设备部位


Tab.1 Aerial Device Components That Shall Be Monitored With Acoustic Emission

高空作业平台悬臂裂纹声发射检测-清诚声发射


表 2应声发射监测的空中设备的钢部位


Tab.1 Aerial Device Steel Components That Shall Be


Monitored With Acoustic Emission

高空作业平台悬臂裂纹声发射检测-清诚声发射


注:“x”表示需要声发射监测部位 ,但是在示例图 1和图 2中没有体现。


“-”表示此类设备没有该部位或该部位不需要监测。


2.2 测试过程步骤


在表 1或表 2所示部件能够被监控的位置对空中人员设备进行测试。可以使用如图 4或图 5所示的推荐测试位置或其等效位置。将负载测量装置(称重传感器及其系统)连接到如图所示的负载位置,该系统依次应连接到足够的自重或锚。测试重量应为空中设备平台标定容量的两倍。

高空作业平台悬臂裂纹声发射检测-清诚声发射


图 4曲臂式空中设备测试位置


Fig. 4Test Positions for Articulating Aerial Devices

高空作业平台悬臂裂纹声发射检测-清诚声发射


图 5伸缩式空中设备测试位置


Fig. 5Test Positions for Extensible Aerial Devices


记录的数据包括:


(1) 以千克为单位的负荷与时间的关系曲线 ,以秒为单位。


(2) 低门限事件数与时间的关系图,以秒为单位 。


(3) 高门限事件数与时间的关系图,以秒为单位 。


(4) 累积振幅分布图 。( 第一撞击振幅计数与时间相关图)


(5) 每个通道的声发射活动图 。( 第一撞击数与通道相关图)


(6) 测试统计表 ,包括通道号 、撞击数 、高强度撞击数、计数、低持续撞击数。


其中 ,第一撞击 ( FIRST-HIT )是本应用中的一个关键声发射特征参数。第一撞击是指声发射事件发生时在某一个通道会阻止其他通道处理声发射数据。该通道应该是距离声发射源最近的传感器所在通道,是处理该声发射源数据的唯一通道。如果任何测试数据表明设备可能发生损坏,在重新启动测试之前,停止测试并评估条件或解决条件,或两者兼有。否则,按 下 述 加载过程 完成测试过程,并对数据进行评估。


1 在施加载荷之前 ,使用 AE 仪器检测背景噪声 。如有任何背景噪音,应查明噪音来源,如有可能,应在开始装货前消除噪音。如果背景噪音过大,请重新安排测试时间或地点,以消除过大的背景噪音。潜在背景噪声源的例子包括电磁干扰,如靠近无线电台、不正确的接地、摩擦界面和冲击。


2 以统一的速率加载 ,在 10 到 20 磅每秒 ( 4.5 到9公斤每秒)之间,直到达到测试负载。


3 保持测试负载 4分钟。


4 以 10 到 20 磅每秒( 4.5 到 9公斤每秒)的均匀速率卸荷。


5 至少等待 2分钟才能进行第二次加载。


6 重复步骤 2-4 ,进行第二次加载。

高空作业平台悬臂裂纹声发射检测-清诚声发射


图 6空中设备加载过程


Fig. 6 Aerial Device Loading Sequence


验收标准每个国家和地区都有自己的标准。本文是结合广泛使用的 ASTM 标准提出参考标准,仅在使用此测试方法且在保持周期内所施加的负载保持恒定时有效。监测 FRP 组件,以下 AE 响应构成验收 :


a. 在第二个负载保持过程的最后 3分钟内 ,测试负载事件数或振铃计数为零;


b. 或者在测试负载的第二个保持期间,记录的事件数或振铃计数总数或两者都少于第一个负载保持期间记录的事件数或振铃计数总数 (凯斯勒效应Kaiser effect) 。还应该观察到,在两个保载期间 ,声发射活动率都明显下降 (也就是说 ,事件发生率或振铃计数发生率在保载期间下降 )。


3 实验应用和软件


3.1 现场设备与安装


本次案例是新西兰客户用于检测可伸缩臂高空作业车的 FRP 悬臂声发射检测。

高空作业平台悬臂裂纹声发射检测-清诚声发射


图 7本案例现场测试的空中设备


Fig. 7 Test Aerial Device in-site

高空作业平台悬臂裂纹声发射检测-清诚声发射


图 8传感器安装


Fig. 8Sensor Installation


3.2 测试软件和数据


本次案例是应用清诚声发射为高空作业平台声发射检测专用的 SWAEU3H 软件 。软件预设了测试需要的表格和界面 ,符合 ASTM 标准 。软件还可以根据测试结果 ,一键出测试报告 ,方便了测试人员的数据采集和记录 。对于负责测试的声发射测试和高空作业平台测试人员,软件还可以任意选择重新设置专属视图,满足不同的测试需求。

高空作业平台悬臂裂纹声发射检测-清诚声发射


图 9软件测试视图


Fig. 9Views in the SWAEU3H software


4 总结和扩展


客户对于清诚公司的声发射硬件和配套软件表示非常满意和认可,测试结果和测试报告都可以满足他们的标准与要求。另外,随着云计算和物联网等新技术的发展,清诚公司研发的 RAEM1 远程智能声发射监测系统可以减少现场布线和安装的困难,可以远程无线传输声发射数据,无需监测检测人员现场控制。

高空作业平台悬臂裂纹声发射检测-清诚声发射


图 10 RAEM1 系统测试安装图


Fig. 10 RAEM1 System Installation Diagram


参考文献


[1] Anastassopoulos, A., Kouroussis, D., Tsimogiannis ,A.Unsupervised Classification of Acoustic Emission Sources from Aerial Man Lift Devices[ C].15th World Conference on Nondestructive Testing ,Roma ,Italy ,2000.


[2] ASTM F-914 -03 .Standard Test Method for Acoustic Emission for Insulated Aerial Personnel Devices[S]. United State:ASTM, 2003.


[3] Bingham A. H.,Veal W. C. Georgia Power Company AcousticEmission Test Program [C]. ASTM STP-1139, 1992, pp.1-21.


[4] ASTM F-1430-03 .Standard Test Method for Acoustic Emission for Insulated Aerial Personnel Devices with Supplemental Load Holding Attachments[S]. United State: ASTM, 2003.



路过

雷人

握手

鲜花

鸡蛋
已有 0 人参与

会员评论

最新文章

文章列表

 名表回收网手机版

官网微博:名表回收网服务平台

今日头条二维码 1 微信公众号二维码 1 抖音小程序二维码 1
浙江速典奢贸易有限公司 网站经营许可证 备案号:浙ICP备19051835号2012-2022
名表回收网主要专注于手表回收,二手名表回收/销售业务,可免费鉴定(手表真假),评估手表回收价格,正规手表回收公司,浙江实体店,支持全国范围上门回收手表
返回顶部